ניווט נגישות
AppleInsider תפריט כתבה

Apple Vision Pro could gain an Apple Pencil-like controller‎

AppleInsider
21:03

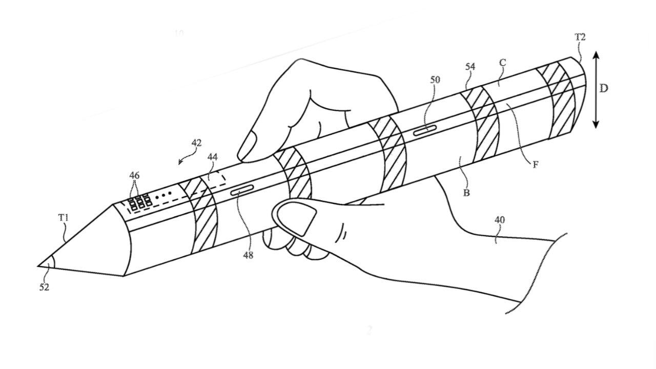
Despite Apple emphasizing that the Apple Vision Pro does not require any kind of handheld controller, it is researching how to make an Apple Pencil for it that will have virtual brush tips, seen only by the wearer.Either a very chunky Apple Pencil or someone can't draw to scale very wellThe Apple Pencil lineup has been accused of being confusing for consumers to pick from, but at least the whole range is similar. Apple's proposal looks like an oversized, chunky addition - but it's meant to be less a writing implement and more a handheld controller."With one illustrative configuration... [the device] is a handheld controller having an elongated marker-shaped housing configured to be grasped within a user's fingers," says the newly-granted patent, called "Computer System with Handheld Controllers." Continue Reading on AppleInsider | Discuss on our Forums

דיווח על כתבה זו הסתרת כתבות מאתר זה המשך קריאה באתר המקור